天涯社区再被限制高消费,累计被执行近1.5亿
企查查财经
2023-05-08 16:50:42
0

原标题:天涯社区再被限制高消费,累计被执行近1.5亿

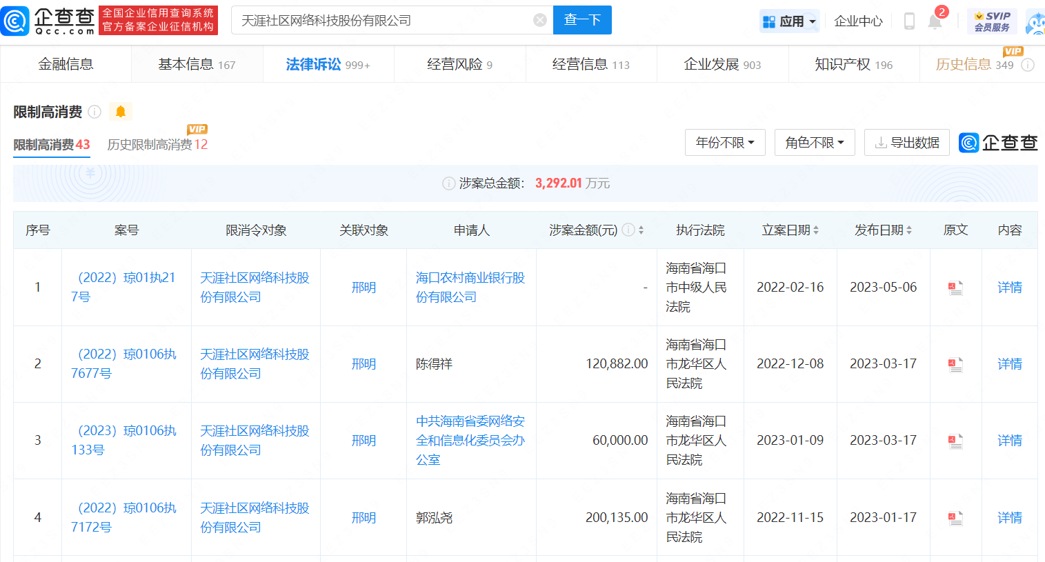
企查查APP显示,近日,天涯社区网络科技股份有限公司新增被执行人信息,执行标的94.4万元,执行法院为海南省海口市秀英区人民法院。同时,该公司因借款合同纠纷中未在期限内履行给付义务被限制高消费。

目前,该公司已累计被执行近1.5亿元,累计被限制高消费43次。

相关内容

热门资讯

假期相伴不内耗!这样做培养高质...   寒假,亲子相处的时间大幅增加,不少家长却陷入带娃焦虑:既怕孩子虚度时光,又担心朝夕相处滋生矛盾。...
春节,一场不容错过的文化约会   连日来,多国举行丰富多彩的活动迎接中国农历马年。这些活动既展示了中华文化的深厚底蕴,也在交流互动...
湖北一地:“那艺娜”(本名翟革... 关于撤销行政许可的公告  根据《中华人民共和国行政许可法》第六十九条规定及2月12日湖北省文旅厅下发...
美将终止部分关税措施 美东时间2月20日晚,美国白宫方面表示,在最高法院裁定特朗普根据旨在应对国家紧急状态的法律所推行的大...
尼日利亚一村庄遇袭 至少50人... 当地时间2月20日,尼日利亚扎姆法拉州议员哈米苏·法鲁称,19日下午至20日凌晨,该州的一个村庄遭武...
特朗普:将在常规关税基础上对全... △当地时间20日,特朗普在白宫新闻发布会上  当地时间2月20日,美国总统特朗普表示,他将签署一项命...
多国敦促在伊朗公民尽快撤离 当地时间2月20日,德国、瑞典、斯洛伐克等国敦促在伊朗的本国公民尽快撤离。此前一天,波兰总理图斯克也...
新春走基层 | 我在云端修“天...   日均开行突破1200列高铁!分钟级的发车速度!作为全国最繁忙的高铁站之一的广州南站,一直是春运期...
视频丨美国举办所谓“和平委员会...   当地时间19日,美国在华盛顿举行所谓“和平委员会”的首次正式会议,讨论加沙地带重建问题。美方在会...
招聘会开在“家门口” 搭建对接...   央视网消息:江西赣州是劳务输出大市,春节假期,趁着外出务工人员集中返乡,赣州将举办200多场次现...
多视角解锁新春归途上科技“新”...   央视网消息:如今,乘坐高铁、开新能源汽车回家早已成为老百姓司空见惯的出行选择。但或许少有人留意,...
特稿|天涯若比邻——中国游客在...   新华社北京2月20日电 特稿|天涯若比邻——中国游客在海外感受“年味儿”  新华社记者于荣  当...
新春走基层丨喜看高原新变化 喀...   石榴云/新疆日报记者 杨舒涵  “新年好啊,祝我最爱的爸爸妈妈健康长寿……”大年初二一早,正在喀...
福建高速公路车流量创单日历史新... 福州新闻网2月20日讯(记者 李琪 通讯员 杨铭 杨可心)记者从省交通运输厅获悉,2月19日,福建高...
法国:没人授权欧盟派员参加“和... 新华社巴黎2月19日电(记者孙毅)法国外交部发言人孔法夫勒19日表示,欧盟委员会派官员参加美国发起的...
“和平委员会”首次开会,特朗普... 据凤凰卫视报道,美国总统特朗普2月19日在华盛顿主持了“和平委员会”首次会议,来自40多个国家代表出...
美前官员:中美或在元首会前达成... 据凤凰卫视报道,美国总统特朗普4月即将访华,美国防部前印太安全事务助理部长拉特纳日前受邀参加由澳大利...
爱泼斯坦案牵出更多名流,美国富... 随着爱泼斯坦案相关文件披露,更多欧美知名人士被曝与案件存在关联。本月10日,美国民主党籍联邦众议员罗...
专栏丨人机共舞:智能时代的“中...   1996年2月,美国费城,一场别开生面的“人机大战”落下帷幕。IBM超级计算机“深蓝”拿下与国际...